您现在所在位置: 首页 > PG电子 > PG电子下载

16家公司注销、欠薪1500万“旅拍行业一哥”暴雷李佳琦也躺枪?PG电子下载

2025-07-30 22:30:26
浏览次数:
返回列表

  PG电子(Pocket Games Soft )全球首屈一指的电子游戏供货商[永久网址:363050.com],首位跨足线下线上电子游戏开发。PG电子,pg娱乐,PG电子试玩平台,pg电子app,pg电子外挂,pg电子接口,pg电子技巧,pg电子下载,欢迎注册体验!凭借一句“婚纱照,去哪拍?想去哪拍就去哪拍,铂爵旅拍!”的魔性广告词,铂爵旅拍快速走红,从行业新秀迅速跃升为“旅拍行业一哥”,巅峰时期,年接待新人4.8万对,营收超十亿,估值更是高达25亿人民币。

  可如今,曾经的头部婚纱旅拍品牌突然暴雷,各种关于其“失联跑路”、“停业破产”的传闻被闹得沸沸扬扬。

  消费者们知晓后坐不住了,网络上各种维权贴满天飞,不仅怒骂铂爵旅拍,连卖它家旅拍套餐的主播李佳琦也受到了波及,恐被列为被告。

  李佳琦在直播中表示:“最近看到不少关于铂爵旅拍履约难的问题,对在直播间购买了铂爵旅拍产品但还没有完成拍摄的用户表达歉意,这种状况确实始料未及。”

  此外,李佳琦给出三种赔付方案:对于已核销未拍摄的用户,李佳琦直播间将先行赔付退款;对于已核销已拍摄但未取得底片的用户,直播间将发放一定金额关怀金,并协助用户拿到底片;对于未核销的用户,建议用户尽快联系平台退款,直播间客服也将提供售后沟通协助支持。

  据媒体报道称,有伯爵旅拍内部员工表示,铂爵旅拍欠薪情况为线位婚纱旅拍的铂爵旅拍员工被欠薪,欠薪总额高达1500万元。

  此外,该员工还表示,公司的婚纱旅拍业务部门目前已经全部遣散,门店仅剩四川川西和新疆等两地转由盈亏自负的店长个人经营模式,其他地区的门店计划服务至8月底,待现有客户订单完成后再关店。

  企查查显示,2025年3月,铂爵旅拍法定代表人许春盛已被厦门中院冻结1600万元股权。该公司控制的40家企业中,有16家已注销,对外投资的29家企业中,有12家已注销。

  眼下,铂爵旅拍公司名下核心资产,可能就只剩下“铂爵”相关商标和10万件客片版权值钱一点了。

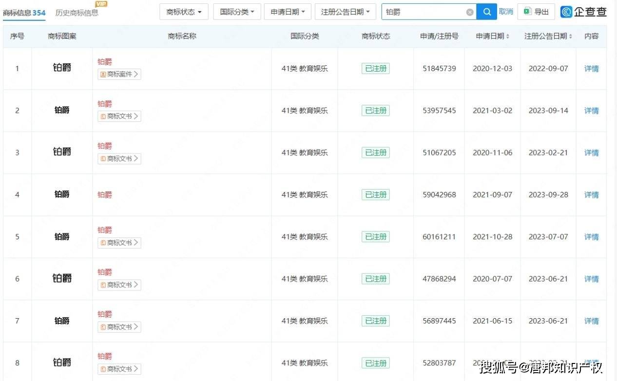
  企查查知识产权信息显示,铂爵旅拍文化集团有限公司共申请354件商标,264件商标已被核准注册。其中“铂爵”“铂爵旅拍”“铂爵旅拍 爱去哪拍就去哪拍BOJUE PHOTOGRAPHY”等商标在多个类别注册成功。

  如果铂爵旅拍彻底“凉凉”,这些商标还能“帮”还债。企业破产并不意味着商标也随之失去价值,相反,其商标可能仍具有商业价值。可通过拍卖或其他方式变现,成为偿还债务的资金来源。

  商标是企业发展道路上不可替代的战略资产,其商业价值不可简单估量,即便商标知名度不高,比不上著名商标、驰名商标那么值钱,也蕴藏着独特的商业价值。这种无形资产的长期效益,往往在品牌长期沉淀与消费者认同中逐步显现。

搜索